Product Summary
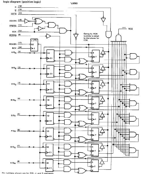
The SNJ54LS590 is a 8-bit binary counter with input register, which comes in a 16-pin package and consists of a parallel input, 8-bit storage register feeding an 8-bit binary counter. Both the register and the counter have individual positive-adge-triggered clocks. In addition, the SNJ54LS590 has direct load and clear functions. A low-going RCO pulse will be obtained when the counter reaches the hex word FF.
Parametrics
SNJ54LS590 absolute maximum ratings: (1)supply voltage, VCC: 7 V; (2)input voltage (excluding I/O ports): 7V; (3)off-state output voltage: -55 to 125; (4)operating free-air temperature range: -55 to 125℃; (5)storage temperature range: -65 to 150℃.
Features
SNJ54LS590 features: (1)parallel register inputs; (2)counter has direct overriding load and clear; (3)accurate counter frequency: DC to 20 MHz.
Diagrams

![]() |
![]() SNJ5445J |
![]() Other |
![]() |
![]() Data Sheet |
![]() Negotiable |
|
||||
![]() |
![]() SNJ5454J |
![]() Other |
![]() |
![]() Data Sheet |
![]() Negotiable |
|
||||
![]() |
![]() SNJ54ABT827FK |
![]() Other |
![]() |
![]() Data Sheet |
![]() Negotiable |
|
||||
![]() |
![]() SNJ54ABTE16245 |
![]() Other |
![]() |
![]() Data Sheet |
![]() Negotiable |
|
||||
![]() |
![]() SNJ54ACT8990 |
![]() Other |
![]() |
![]() Data Sheet |
![]() Negotiable |
|
||||
![]() |
![]() SNJ54AHCT138FK |
![]() Other |
![]() |
![]() Data Sheet |
![]() Negotiable |
|
||||
(China (Mainland))








