Product Summary
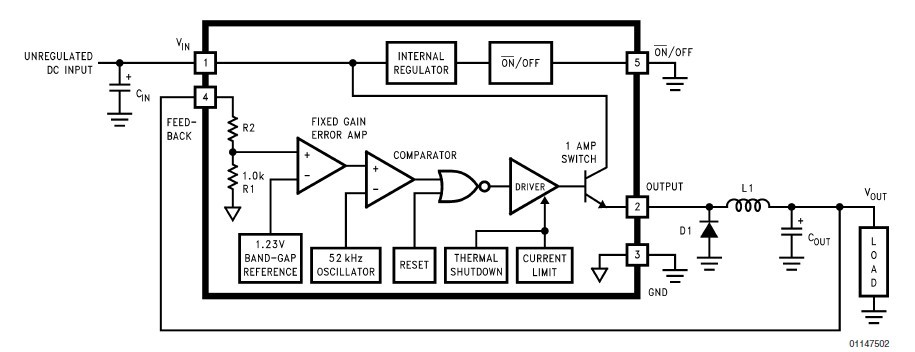
The LM2575HVT-ADJ is a 1A step-down voltage regulator. It provides all the active functions for a step-down(buck) switching regulator, capable of driving a 1A load with excellent line and load regulation. The device is available in fixed output voltages of 3.3V, 5V, 12V, 15V, and an adjustable output version. The applications of the LM2575HVT-ADJ include: (1)Simple high-efficiency step-down (buck) regulator; (2)Efficient pre-regulator for linear regulators; (3)On-card switching regulators; (4)Positive to negative converter (Buck-Boost).
Parametrics
LM2575HVT-ADJ absolute maximum ratings: (1)Maximum Supply Voltage: 63V; (2)ON /OFF Pin Input Voltage: -0.3V ≤ V ≤ +VIN; (3)Output Voltage to Ground(Steady State): -1V; (4)Power Dissipation: Internally Limited; (5)Storage Temperature Range: -65℃ to +150℃; (6)Maximum Junction Temperature: 150℃; (7)Minimum ESD Rating(C = 100 pF, R = 1.5 kΩ): 2kV; (8)Lead Temperature(Soldering, 10 sec.): 260℃.
Features
LM2575HVT-ADJ features: (1)3.3V, 5V, 12V, 15V, and adjustable output versions; (2)Guaranteed 1A output current; (3)Wide input voltage range, 40V up to 60V for HV version; (4)Requires only 4 external components; (5)52 kHz fixed frequency internal oscillator; (6)TTL shutdown capability, low power standby mode; (7)High efficiency; (8)Uses readily available standard inductors; (9)Thermal shutdown and current limit protection; (10)P+ Product Enhancement tested.
Diagrams

| Image | Part No | Mfg | Description | ![]() |
Pricing (USD) |
Quantity | ||||||||||||
|---|---|---|---|---|---|---|---|---|---|---|---|---|---|---|---|---|---|---|
![]() |
![]() LM2575HVT-ADJ |
![]() National Semiconductor (TI) |
![]() Switching Converters, Regulators & Controllers |
![]() Data Sheet |
![]()
|
|
||||||||||||
![]() |
![]() LM2575HVT-ADJ/LB03 |
![]() National Semiconductor (TI) |
![]() Switching Converters, Regulators & Controllers |
![]() Data Sheet |
![]()
|
|
||||||||||||
![]() |
![]() LM2575HVT-ADJ/NOPB |
![]() National Semiconductor (TI) |
![]() Switching Converters, Regulators & Controllers 1A STEP-DOWN VLTG REG |
![]() Data Sheet |
![]()
|
|
||||||||||||
![]() |
![]() LM2575HVT-ADJ/LF03 |
![]() National Semiconductor (TI) |
![]() Switching Converters, Regulators & Controllers |
![]() Data Sheet |
![]()
|
|
||||||||||||
(China (Mainland))










