Product Summary
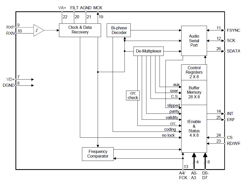
The CS8413-CS is a monolithic CMOS device which receives and decodes audio data up to 96kHz according to the AES/EBU interface standard. The CS8413-CS receives data from a transmission line, recover the clock and synchronization signals, and de-multiplex the audio and digital data. Differential or single ended inputs can be decoded. The CS8413-CS has a configurable internal buffer memory, read through a parallel port, which may be used to buffer channel status, auxiliary data, and/or user data. The CS8413-CS de-multiplexes the channel, user, and validity data directly to serial output pins with dedicated output pins for the most important channel status bits.
Parametrics
CS8413-CS absolute maximum ratings: (1)Power Supply Voltage VD+ VA+: 6.0 V; (2)Input Current, Any Pin Except Supply (Note 1) Iin: ±10 mA; (3)Input Voltage, Any Pin Except RXP, RXN VIN: -0.3 (VD+) + 0.3 V; (4)Input Voltage, RXP and RXN VIN: -12 12 V; (5)Ambient Operating Temperature (power applied) TA: -55~125 ℃; (6)Storage Temperature Tstg: -65~150 ℃.
Features
CS8413-CS features: (1)Sampe Rates to >100 kHz; (2)Low-Jitter, On-Chip Cock Recovery; (3)256xFs Output cock Provided; (4)Supports: AES/EBU, IEC 958, S/PDIF, &; (5)EIAJ CP340/1201 Professiona and; (6)Consumer Formats; (7)Extensive Error Reporting; (8)Repeat Last Sampe on Error Option; (9)On-Chip RS422 Line Receiver; (10)Configurabe Buffer Memory (CS8413); (11)Pin Compatibe with CS8411 and CS8412.
Diagrams

| Image | Part No | Mfg | Description | ![]() |
Pricing (USD) |
Quantity | ||||
|---|---|---|---|---|---|---|---|---|---|---|
![]() |
![]() CS8413-CSR |
![]() Cirrus Logic |
![]() Audio DSPs IC 96 kHz Digital Audio Receivers |
![]() Data Sheet |
![]() Negotiable |
|
||||
| Image | Part No | Mfg | Description | ![]() |
Pricing (USD) |
Quantity | ||||
![]() |
![]() CS8401A |
![]() Other |
![]() |
![]() Data Sheet |
![]() Negotiable |
|
||||
![]() |
![]() CS8402A |
![]() Other |
![]() |
![]() Data Sheet |
![]() Negotiable |
|
||||
![]() |
![]() CS8403A |
![]() Other |
![]() |
![]() Data Sheet |
![]() Negotiable |
|
||||
![]() |
![]() CS8404A |
![]() Other |
![]() |
![]() Data Sheet |
![]() Negotiable |
|
||||
![]() |
![]() CS8405A |
![]() Other |
![]() |
![]() Data Sheet |
![]() Negotiable |
|
||||
![]() |
![]() CS8405A-CZZ |
![]() |
![]() IC 96KHZ DGTL TRANSMIT 28-TSSOP |
![]() Data Sheet |
![]() Negotiable |
|
||||
(China (Mainland))









